宝能地产持有的宝能城市发展全部股权被冻结,总额100亿元
扫描到手机,新闻随时看
扫一扫,用手机看文章
更加方便分享给朋友
来源:澎湃新闻
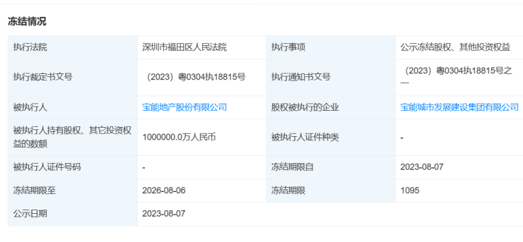
8月22日,据天眼查显示,8月7日宝能地产股份有限公司新增了一则股权冻结信息被冻结了100亿元股权,股权被执行企业为宝能城市发展建设集团有限公司,冻结期至2026年8月6日,执行法院为深圳市福田区人民法院。
资料显示,宝能地产股份有限公司持有宝能城市发展建设集团100%股权,为其唯一股东,此次被冻结的也是宝能地产所持有的全部股权。宝能地产的第一大股东为宝能控股(中国有限公司),持股比例为78.1%。

宝能集团目前仍深陷资金流动性困局中。
在宝能集团2023年经营工作会议上,宝能集团实际控制人姚振华表示,将持续推进流动性困难化解工作,推动理财兑付、资产处置、融资展期及债务优化重组等工作取得重大的阶段性成果。
因资金链紧张的缘故,宝能集团开始拖欠员工薪资。
7月31日,宝能集团董事长姚振华在深圳被讨薪者围堵。围堵姚振华的这些人都是被欠薪的员工。据悉,他们原为宝能汽车集团销售端员工,包括一名副总裁。
在接受澎湃新闻记者采访时,宝能集团子公司一名高管称,截至2023年7月底,宝能汽车集团员工累计被欠薪多达15个月,涉及公司主体包括宝能汽车集团有限公司、宝能新能源汽车集团有限公司深圳分公司、宝能汽车科技有限公司、宝能汽车供应链管理有限公司、前海七剑科技(深圳)有限公司、宝能汽车销售有限公司等。
此外,网上流传的宝能集团流传的欠薪情况表显示,宝能整个体系,汽车板块是欠薪重灾区。
8月3日,宝能集团官网发布了一则“关于7月31日宝能集团姚振华董事长遭到暴力袭击事件的说明”。
声明称,“集团全体同仁强烈谴责7月31日暴力袭击事件。集团已采取相应法律行动,并采取必要措施,确保全体干部员工人身安全,及企业正常经营。集团坚决履行企业主体责任,绝大部分经营单元均正常发薪,部分存在薪资缓发的经营单元正在全力解决,从未懈怠。”
宝能集团称,集团资产扎实、底子厚实,产业方向与国家经济需求高度匹配,各项业务正在蓄力深耕,经营持续向好,化解流动性困难不断取得突破。
声明:本文由入驻焦点开放平台的作者撰写,除焦点官方账号外,观点仅代表作者本人,不代表焦点立场。


